独特的CLS曲面静电振膜 美国静电之王 MartinLogan 马田芦根


1.jpg


Martin Logan最著名的产品就是静电喇叭,虽然在Martin Logan之前,曾经有Quad、Klipsch KLH、Janszen……等等知名的静电喇叭出现,但却都无以为继,而Martin Logan一路从1979年推出静电喇叭至今,一直在进步当中,而其中最特殊的技术要算是CLS曲面静电振膜。


我们先来看看静电喇叭的工作原理。与传统动圈式喇叭比较起来,静电喇叭工作的面积很大,但质量却很轻,静电喇叭的振膜其实就是非常非常薄的薄膜(Disphragm)。但是这么一大片薄膜怎么「振动」,或者严格来说,像动圈喇叭单体振膜一样做「前后活塞运动」?


2.jpg


静电喇叭由前后两片定子(Stator)夹住静电薄膜,靠静电薄膜振动发声。


基本上静电喇叭由三个部分构成,中央是超薄的薄膜,而薄膜前后有两片定子(Stator),把薄膜夹在中间。这片薄膜表面要经过特殊处理,可以导通静电,由外部施加很高的静电压,而且必须恒定为正电的静电压,而前后两片定子的电压极性会改变,靠同性相斥、异性相吸的原理,当前面的定子电压为负,就把静电薄膜向前吸,而后面的定子电压为负,则把静电振膜向后吸,如此一来产生静电振膜的位移,推动空气产生声波。


可以想见,前后两片定子的电压一定刚好相反,前面为负、后面为正,就把静电振膜向前推,而前面为正、后面为负,就把静电振膜向后拉。所以在静电喇叭的振膜表面,必须利用施加超高电压,让中间的静电振膜充斥高压静电,而前后两片定子则需要变压器转换极性。所以,静电喇叭大多需要插电,Martin Logan也不例外,而这些电力并不是用来推静电喇叭,而是施加静电压与转换定子极性的标准配备。


3.jpg


静电振膜表面施以超高静电压,永远是正极,而前后定子极性则随音乐信号变化,吸引静电振膜前后振动。


4.jpg


中间的静电振膜需要施加超高静电压,所以静电振膜驱动需要插电。


想像一下,静电喇叭的基本结构就是三明治结构,中央是静电振膜,前后是定子,理论上来说应该是平面的结构,但Martin Logan却是曲面的设计。这就是Martin Logan特殊之处,早在1979年创业之时,Martin Logan做的就是平面静电振膜,一直到1986年才推出CLS曲面静电振膜。


5.jpg


CLS曲面静电振膜是Martin Logan的独门绝活


为什么要把平面的静电振膜,变成曲面的CLS?这个道理和现在流行的曲面屏幕有点类似,但曲面屏幕是内凹的,目的是让视角更集中,而CLS则是要让水平扩散角度更宽阔。提升水平扩散角度的好处在哪里?声波扩散性更好,皇帝位更宽阔,不一定要局限在特定的位置,CLS可以均匀地把声波传送到各个角落。


要怎么把平面的静电振膜,制作成曲面的静电振膜,在我来Martin Logan之前,一直想不懂,还以为他们是把平面振膜做好之后,再利用模具弯曲,可是这样怎么让振膜绷得平?不过这实际上要怎么做,我先卖个关子,等真正进入工厂的实作流程,再详细介绍CLS如何从平面变曲面。


6.jpg


CLS的好处就是声波扩散更为均匀。


而Martin Logan静点喇叭的第二个特点,就是混合动圈与静电设计,而这项设计有其技术上的独特优势。怎么说?一般二音路或三音路喇叭,高音与中音的分频点大多落在2kHz~5kHz之间,可是人耳对于中高频段的「相位」非常敏感,而在2kHz~5kHz中间插入一个分频点,一定会产生若干变化,而Martin Logan的设计都是二音路,分频点多在450Hz,这已经拉到中频段的下段,人耳对这个频段的相位变化,远不及2kHz这里那么敏感。所以,Martin Logan在关键的450Hz~20kHz中高频段,完全没有分音器的干扰,而音响的金科玉律就是:「最好的分音器,就是没有分音器」,Martin Logan的设计真正做到了中高频完全没有分音器,全部靠CLS静电振膜发声。


7.jpg


Hybrid的设计让静电振膜负责中高频段,而动圈式低音负责低频,如此一来在人耳对时间相位敏感的频段,完全没有分音器的干扰。


我想进一步解释为什么人耳对2kHz这个频段特别敏感,人靠一双耳朵听声音,左右耳的间隔,产生了听声音的「时间相位差异」,所以我们可辨认声音的方向。假如声音从左边过来,左耳先接收声音,然后右耳才接收到,这个时间相位差异,告诉大脑声音发出来的位置在左边。不过这个「相位差」有限制,假如声波的波长,比左右耳的间距还长,那么左右耳接收声音的「时间差」就会缩短,而接收时间差越短,大脑对声音「位置」的认知就会越模糊。


那什么样的声波波长比较长?高频还是低频?很显然低频的波长比较长,所以我们常会说超低音没有指向性,因为超低音的波长可达十公尺以上,远远超过左右两耳的间距。可是高频段敏感的区域在哪里?答案是1.5~2kHz之处,比这个频率越是高,保证波长比左右耳间距短,大脑「听声辨位」的能力就越好,而比这个频率越是低,大脑对于声音的相对位置感受越模糊。


8.jpg


动圈式单体负责450Hz以下的低频段,从450Hz~2kHz之间完全没有分音器的干扰,也就没有时间相位误差。


可是大多数两音路动圈式喇叭,分频点多在2kHz的地方,人耳在这里对声音的时间相位最敏感,所以每一个喇叭厂家都强调在分音器上面,投入许多研究调整,但是回头看Martin Logan的设计,他们的「混合式」设计,让动圈低音负责450Hz以下的低频段,已经远离大脑对「听声辨位」的敏感地带,而最关键的2kHz,完全没有分频点,所以Martin Logan的中高频才会听起来那么自然流畅。因为大脑不需要在敏感区域不断辨认是哪一个单体发出来的声音,完全只听大面积静电振膜的中高频,而大脑越是不需要耗费力气去辨认声音相位,音乐听起来就会越轻松、越自然、越耐听。


9.jpg


Martin Logan静电喇叭独有的Spars,把静电喇叭区隔为较小的面积,可以大幅降低失真。


此外,Martin Logan还有独家Spars,就是在静电振膜与定子之间,加入Spars间隔,让静电振膜不是一大片,而是区隔为一段一段的区域。Spars之间的距离不完全相同,但是区隔了大面积的静电振膜,成为相对较小的内存块,可以大幅降低失真。其实Martin Logan这项技术,原本是为了当年超级旗舰喇叭Statement e2所研发,后来才延伸到全系列Martin Logan静电喇叭,并且注册专利称为ClearSpar技术。


目前Martin Logan所使用的静电振膜,称之为第二代静电振膜。我们说过静电振膜发声的原理,中间的静电薄膜施加超高静电压,问题是静电薄膜不是有点像保鲜膜的塑料材料,怎么会导电?答案是表面经过金属处理,但是因为涂层超级薄,薄到看不见,所以Martin Logan的振膜看起来是透明状。


10.jpg


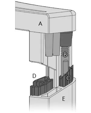
而Martin Logan的静电喇叭框架也有学问,他们称之为AirFrame技术,材料是航天级钢材与铝挤型合金框架,Martin Logan的设计强化了框架的刚性,如此一来可以大幅缩小静电振膜固定框架的体积,同时让静电喇叭振膜的面积达到最大,内部强化的接点结构,也可以消除喇叭框架本身的声音谐振。所以不要看Martin Logan静电喇叭的框架,好像只有细细的一条,其实结构是非常强壮的。